今年以来,法拍房市场成交火热,千万以上成交房源更是亮眼——
据统计,今年以来共有15套千万级房源成功拍出,累计吸金4.1亿元。
其中,有房源拍出了高于评估价1365万的价格,有的房源则以低于评估价996万、550万的价格成交。
我们都知道,法拍房通常比商品房的价格要低不少,不过低于行情价近千万的房源可谓少见,具体?
爱琴海一别墅:
以高于评估价1365万成交
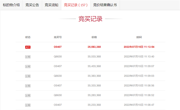
目前来看,成交价与评估价价差最大的,是岛内会展板块爱琴海一套别墅,建面约410.93㎡,共有6室2厅3卫。
该房源起拍总价2193万,吸引了13人报名参加,经过1小时13分钟157轮竞价,最终以3558万成交,高于评估价1365万。成交单价约8.67万/㎡。
评估报告显示,该拍卖房源共有4层(地上3层,地下1层),南北朝向,建成年份约2008年,内部为毛坯状态。
图源:阿里拍卖
在二手房平台上,爱琴海几乎没有别墅房源上架。
目前,小区高层房源挂牌单价在6-8万/㎡,近两年的成交单价在6.3万/㎡左右。对比下来,这套成交的法拍房源,单价远高于当前市场价。
蓝湾国际一大平层:
降价近千万成交
15套千万级房源中,捡漏机会最大的,要数蓝湾国际一套209.91㎡房源,评估价为2612万,经过22轮出价,最终以1616.72万成交,降价幅度高达996万,相当于打了六折。
据了解,该房源为二次拍卖,起拍价1462.72万,相较于首拍有所下调。
评估报告显示,该房源于2017年12月22日办理权属登记,目前处于空置状态。
图源:阿里拍卖
蓝湾国际属于思明体育中心板块内品质较新的二手房,小区周边交通、教育等配套一应俱全——
有地铁2号线育秀东路站、滨北小学(初中可派位外国语学校、六中、十一中和湖滨中学)、五一广场、体育中心、市图书馆等环绕,居住氛围浓厚。
目前,小区挂牌均价8.6万/㎡,今年成交的3套房源,单价在8.5-8.8万/㎡。对比下来,这套法拍房源,成交单价约7.7万/㎡,要低于当前市场价。
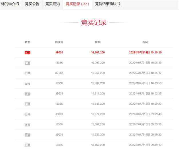
此外,万科金域蓝湾一期一套221.95㎡房源,经过2轮出价,最终以1300万成交,低于评估价550万,算下来成交单价约5.85万/㎡。
据悉,该房源所在建筑共32层,拍卖标的位于18层(18连跃20层),建成时间为2008年。该房产于2011年6月22日办理权属登记,目前处于空置状态。
在二手房平台上,万科金域蓝湾一期挂牌均价7万/㎡,去年成交的两套房源,单价在6.1-7万/㎡。对比下来,这套成交的法拍房源,是妥妥的捡漏价。
可以看到,这些成交价与评估价价差超千万的法拍房,大多是岛内的大平层或别墅房源,与普通房源相比,具备以下两大特点:
一是本身自带稀缺属性,比如爱琴海成交的别墅,市面上鲜少流通。
二是价差优势明显,法拍房通常比商品房的价格要低不少,比如蓝湾国际成交的这套法拍房源,成交价要比同小区乃至板块的二手房要低。
不过,稀缺属性和价差优势固然很有吸引力,但还是要提醒大家:切勿盲目跟风买入,参与竞拍前要了解房源本身水电、物业欠费或相关案件牵扯等问题。
有的法拍房源存在维修赔偿问题














闽公网安备 35020302035470号
最新评论